|
Есть вопросы? Наши квалифицированные специалисты готовы проконсультировать вас. Пишите свои вопросы или отправляйте заявку на нашу почту: gt@gigaterm.ru |
Задать вопрос
|
Имитатор габаритный для расходомера ПРЭМ предназначен для использования при монтаже расходомеров на трубопроводе, а так же при демонтаже расходомеров при ремонтных работах на узле учета или поверке приборов.
Монтажная вставка ПРЭМ изготавливаются из углеродистой и нержавеющей стали и могут быть использованы в трубопроводах холодной и горячей воды, при температуре до 150 гр. С и условном давлении до 1,6 МПа.
Во избежание повреждения расходомеров ПРЭМ монтажно-сварочные работы следует производить с использованием габаритного имитатора ПРЭМ.
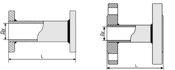
Размеры габаритных имитаторов ПРЭМ.
|
Габаритный имитатор ИПС Для ПРЭМ исполнения «сэндвич» |
Габаритный имитатор ИПФ Для ПРЭМ фланцевого исполнения |
|
ДУ |
исполнение «сэндвич», L, мм. |
фланцевое исполнение, L, мм. |
|
20 |
109 |
155 |
|
32 |
128 |
200 |
|
40 |
- |
200 |
|
50 |
153 |
200 |
|
65 |
- |
200 |
|
80 |
180 |
200 |
|
100 |
211 |
- |
|
150 |
- |
314 |

